
盛阳专利 2019-03-18 10:01:00
在这里,盛阳专利小编为您推荐一个非常有用的网站,中国及多国专利信息查询http://cpquery.sipo.gov.cn/ 。
在使用前,申请人需要注册一个公众查询账号,然后登陆,即可进入以下查询界面。

在这里,申请人可以通过申请号(只填写13位数字)、专利的发明名称、申请人等进行查询,以申请人为例,如果以企业名称作为申请人,则输入企业全称,再输入验证码,点击查询,即可查询到企业目前所有的公开专利信息。点击其中一个专利的申请号,进入以下页面。

可以看到专利目前的状态“案件状态”是专利权维持,表示专利目前处于有效状态。
点击“审查信息”,进入以下界面。

可以查看专利申请文件的内容、中间文件的内容以及相关的通知书内容。
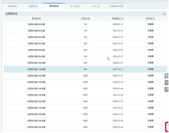
点击“费用信息”,进入以下界面。


可以看到应缴费信息和已缴费信息,申请人根据应缴费信息,即可知道自己应在何时缴纳何笔费用,以及缴费金额是多少。
通过以上方法,申请人可以了解自己所有的专利情况,帮助申请人掌握自己的专利信息和最新状态,便于对专利进行管理。
通过以上介绍,相信申请人已经对如何查询自己的专利状态及缴费情况有了初步了解,如有疑问,欢迎致电我所或莅临咨询,咨询热线: 400-600-1061